Samsung sẽ đổi tên điện thoại gập thành “Winner” và ra mắt tại triển lãm MWC?
Samsung sẽ đổi tên điện thoại gập thành “Winner” và ra mắt tại triển lãm MWC?
Theo truyền thông Hàn Quốc đưa tin, Samsung vừa đổi tên của dự án phát triển điện thoại màn hình gập thành “Winner” tạm dịch “Người chiến thắng”. Samsung cũng đã yêu cầu đối tác bắt đầu cung cấp linh kiện từ tháng 11 và khả năng sẽ trình làng vào triển lãm MWC năm sau.

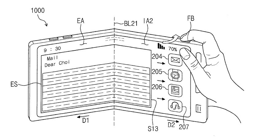
Dự án phát triển smartphone màn hình gập được Samsung bắt đầu từ 2015 với tên gọi “Valley” (tạm dịch là thung lũng). Đầu năm 2018 tại triển lãm CES Samsung đã giới thiệu với các đối tác 2 phiên bản nguyên mẫu, trong đó có 1 chiếc smartphone gập vào trong với 3 màn hình OLED 3.5 inch, 2 màn hình bên trong và 1 bên ngoài. Chúng có thể ghép lại với nhau thành 1 màn hình 7 inch.

Trước khi tiến hành sản xuất hàng loạt, Samsung sẽ sản xuất khoảng 300.000 đến 500.000 máy để thử nghiệm phản ứng cửa người dùng. Hãng Hàn Quốc thường sản xuất đến 50 triệu máy đối với các dòng như Galaxy S và Galaxy Note để tham khảo thị trường.

Hiện tại các đối tác của Samsung đã được đã Samsung yêu cầu cung cấp linh kiện từ tháng 11, nếu Samsung bắt tay vào sản xuất ở khoảng tháng 3 thì rất có thể smartphone màn hình gập này sẽ được giới thiệu tại triển lãm MWC 2019. Ngoài ra Samsng cũng có dự án phát triển phiên bản kỷ niện 10 năm Galaxy S10 với tên gọi “Beyond”.
>>>Lộ diện hình ảnh render Galaxy Note 9
>>>Galaxy Note 9 sẽ trình làng muộn hơn so với dự kiến